Log In/Sign Up
Your email has been sent.
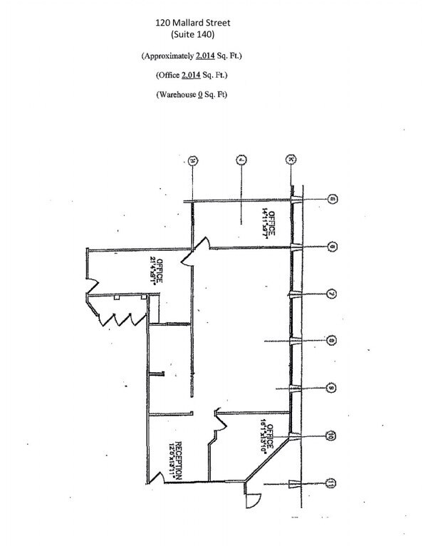
120 Mallard St
Saint Rose, LA 70087
Two James Park · Office Property For Lease
·
8,857 SF


Highlights
- 53,520 SF, three-story office building
- Proximity to major transportation corridors and airport
- Ample on-site parking
- Located within James Business Park (200+ acre master-planned development)
- Modern construction with concrete and glass façade
- Professional on-site management and maintenance team
Property Overview
Located in a beautifully landscaped business park campus, 120 Mallard is a well-maintained, three-story suburban office building totaling 53,520 square feet. The building features solid concrete and glass construction, modern floor plans, and ample parking. James Business Park is recognized as the area’s premier industrial and office development, offering the most modern buildings and highest quality management. With two on-site managers, three dedicated maintenance personnel, and roving security, tenants benefit from exceptional property oversight and service.
Property Facts
Building Type
Office
Year Built
1981
Building Height
3 Stories
Building Size
53,520 SF
Building Class
B
Typical Floor Size
17,840 SF
Unfinished Ceiling Height
12’
Parking
236 Surface Parking Spaces
Surface Tandem Parking
Covered Parking
Covered Tandem Parking
Reserved Parking
1 of 5
Videos
Matterport 3D Exterior
Matterport 3D Tour
Photos
Street View
Street
Map
